雙金屬溫度計的工作原理是使用兩種不同溫度膨脹系數的金屬,一端焊接在固定點,另一端在溫度變化時扭曲,轉換成指針偏轉角來指示溫度。抽芯式指雙金屬溫度傳感元件可從外部保護管中取出進行更換,這是一種廣泛使用的現場指示溫度計。
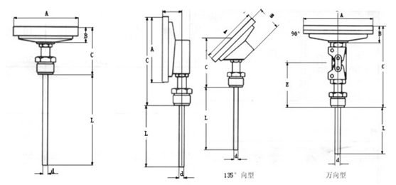
根據雙金屬溫度計指針盤和保護管的連接方向,可分為軸向型、徑向型和135°;有四種類型:方向型和通用型。
1,徑向雙金屬溫度計:指針盤與保護管并聯;
2、135 °;方向雙金屬溫度計:指針盤和保護管形成135°;連接;
3、通用雙金屬溫度計:指針盤和保護管之間的連接角度可以隨意調節;
4,軸向型雙金屬溫度計:指針盤與保護管垂直連接。

安裝雙金屬溫度計,應注意在不影響設備運行和生產操作的情況下,便于精確測溫、安全和易于維護。為了滿足上述要求,在選擇熱阻的安裝位置和插入深度時應注意以下幾點:
(1)為了保證熱阻測量端與被測介質之間有足夠的熱交換,應合理選擇測量點的位置,盡量避免在閥門、彎管、管道和設備死角附近安裝熱阻。
(2)帶保護套的熱阻有傳熱和散熱損失。為了減少測量誤差,熱電偶和熱阻應具有足夠的插入深度:[/BR/] A .對于測量管道中心流體溫度的熱阻,其測量端應插入管道中心(垂直或傾斜安裝)。如果被測流體管直徑為200毫米,熱阻插入深度應為100毫米。
b對于高溫、高壓和高速流體(如主蒸汽溫度)的溫度測量,為了降低保護套管對流體的阻力,防止保護套管在流體的作用下斷裂,可以采用淺插入保護管或熱套管型熱阻。淺插入式熱阻保護套管,主蒸汽管的插入深度不應小于75毫米;;熱套筒式熱電阻的標準插入深度為100毫米;;
c,如果需要測量煙道內煙氣的溫度,即使煙道直徑為4m,熱阻的插入深度僅為1m;
d,當原始測量值的插入深度超過1m時,應盡可能垂直安裝,或另外安裝支撐架和保護套。
“雙金屬溫度計幾種安裝方法的要求 ”本文地址,轉載請勿刪除!http://www.jnbsbp.cn/gynews/1717.html